Tăng cường Bea
Công nghệ gia cố CFRP có thể được ứng dụng rộng rãi tại Trung Quốc
Theo những đặc điểm trên và tình hình sản xuất thực tế của công ty, đội ngũ kỹ thuật sau khi phân tích toàn diện đã quyết định áp dụng chương trình gia cố bằng sợi carbon để nâng cao khả năng chịu lực.
Đây là một bài viết rất hay để giới thiệu đến mọi người. Văn phòng chuẩn bị dự án chuyển đổi kỹ thuật muối nylon 66 của Tập đoàn Shenma

Công ty TNHH Muối Nylon 66 thuộc Tập đoàn Shenma Trung Quốc đã nhập khẩu công nghệ và thiết bị sản xuất muối Nylon 66 tiên tiến nhất thế giới vào đầu những năm 1990. Theo yêu cầu phát triển của công ty về việc mở rộng sản xuất và khai thác phụ phẩm, cần phải mở rộng năng lực sản xuất của nhà máy axit adipic, và axit adipic được sản xuất bằng cách oxy hóa cyclohexanol và axit nitric, vì vậy công ty đã quyết định tăng công suất. Một lò phản ứng oxy hóa (B - R160 E) được vận hành nối tiếp với 4 lò phản ứng ban đầu. Do hạn chế về điều kiện quy trình, cần phải bổ sung thêm một lò phản ứng oxy hóa vào khung lò phản ứng oxy hóa ban đầu. Sau khi tính toán, lực của dầm khung lò phản ứng oxy hóa ban đầu không thể đáp ứng được, cần phải gia cố thêm.
1 Hệ thống gia cố kết cấu
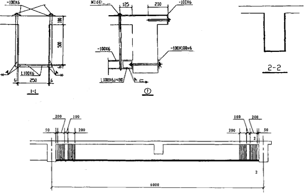
1.1 Trước và sau khi gia cố
Theo tình hình thực tế trong quá trình thi công, việc xây dựng điểm kết nối giữa dầm và cột khung rất khó khăn, và tất cả các đường ống công nghệ xung quanh J GL-1 và J GL-2 đều cần phải tháo dỡ. Thép L100*6 của dầm cần được bẻ gãy nhiều chỗ, nếu không sẽ khó đi qua. Bằng cách này, hiệu quả gia cường của thép góc trên dầm bị giảm, bất lợi nhất là lò phản ứng ban đầu phải dừng lại trước khi thi công, điều này có nghĩa là quá trình sản xuất liên tục, việc dừng lại toàn bộ sẽ gây thiệt hại cho doanh nghiệp.
1.2 Phương pháp gia cố bằng sợi carbon dán
Trong phương án này, công nghệ gia cường CFRP là một loại công nghệ gia cường kết cấu mới, sử dụng vật liệu liên kết nhựa để dán CFRP lên bề mặt bê tông nhằm mục đích gia cường kết cấu và các cấu kiện. Vấn đề tháo dỡ đường ống dẫn ban đầu và dừng lắp đặt xung quanh dầm cốt thép trong kết cấu cốt thép được giải quyết cơ bản, đảm bảo thiết bị sản xuất hoạt động liên tục.


Theo những đặc điểm trên và tình hình sản xuất thực tế của công ty, đội ngũ kỹ thuật sau khi phân tích toàn diện đã quyết định áp dụng chương trình gia cố bằng sợi carbon.
2. Công nghệ thi công và yêu cầu dán màng sợi carbon
2.1 Nguyên lý quy trình
Cơ chế gia cố là tấm sợi carbon được liên kết với bề mặt của các cấu kiện bê tông bằng chất kết dính epoxy hiệu suất cao và cường độ kéo tốt của tấm sợi carbon được sử dụng để tăng khả năng chịu lực và độ cứng của các cấu kiện.
2.2 Yêu cầu về quy trình và vận hành
Xử lý bề mặt, chải, làm phẳng, liên kết, bảo vệ CFRP.
2. 2.1 Xử lý bề mặt
(1) Loại bỏ các lớp bê tông bị hư hỏng như bong tróc, bong tróc và ăn mòn dạng tổ ong trên bề mặt cấu kiện gia cố.
(2) Bề mặt cấu kiện cần được làm phẳng bề mặt lồi để lộ cát, đá và xi măng (đây là khâu xử lý chính để đảm bảo sự tương tác giữa CFRP và bê tông);
(3) Làm sạch bề mặt bê tông và giữ khô.
(4) Sử dụng vật liệu sửa chữa để làm phẳng bề mặt sửa chữa.
2. 2.2 Sơn lót bằng cọ
(1) Làm keo nền.
(2) Sơn lót được phủ đều lên bề mặt bê tông bằng cọ lăn, và cần được nhúng vào các lỗ rỗng của bê tông. Sau khi keo đông cứng, bước tiếp theo được thực hiện.
2. 2.3 Xử lý san phẳng
(1) Trộn vật liệu san phẳng;
(2) Bề mặt bê tông được lấp đầy bằng vật liệu san phẳng, không được có cạnh và góc.
(3) Trải vật liệu san phẳng tại góc để vá một đường cong tròn nhẵn có bán kính không nhỏ hơn 20 mm;
(4) Khi bề mặt vật liệu san phẳng được chạm hoặc khô, bước tiếp theo là thi công.
2. 2.4 Dán vải sợi carbon
(1) Cắt vải sợi carbon theo kích thước yêu cầu thiết kế, độ lệch kích thước không được vượt quá 20 mm;
(2) Chuẩn bị keo nhựa tẩm và dán đều lên phần cần dán.
(3) Sử dụng con lăn chuyên dụng lăn nhiều lần theo chiều sợi để tạo bọt khí và làm cho keo nhựa tẩm được nhúng hoàn toàn vào vải sợi carbon. Nếu phát hiện có bọt khí, cần thực hiện các biện pháp để loại bỏ bọt khí và yêu cầu vải sợi carbon phải thẳng sau khi lăn.
(4) Lặp lại các bước trên và dán lớp tiếp theo khi bề mặt vải được chạm hoặc khô.
(5) Quét đều keo nhựa tẩm lên bề mặt lớp CFRP cuối cùng.
2. 2.5 Bảo vệ
Bề mặt của vải sợi carbon gia cường cần được bảo vệ bằng thạch cao hoặc lớp phủ chống cháy.
3 Lời kết
Công nghệ nhựa gia cường sợi carbon (CFRP) bắt đầu từ những năm 1980 tại Hoa Kỳ, Nhật Bản và các nước phát triển khác. Trung Quốc bắt đầu tương đối muộn, chưa có quy cách kỹ thuật tiêu chuẩn trong nước, việc kiểm tra và nghiệm thu dựa trên tiêu chuẩn doanh nghiệp. Vải sợi carbon là sản phẩm nhập khẩu. Vải sợi carbon được sử dụng để gia cường dầm lò phản ứng oxy hóa muối 66 là vật liệu composite Hertz của Hoa Kỳ. Model là C300-C (0,167mm). Gia cường CFRP có ưu điểm là thi công đơn giản, thi công nhanh, chống cháy, kháng axit và kiềm, và ít tăng trọng lượng chết sau khi gia cường. Người ta tin rằng công nghệ gia cường CFRP có thể được ứng dụng rộng rãi tại Trung Quốc.