Giải pháp
Horse Construction cung cấp đầy đủ các loại vật liệu gia cố kết cấu với hỗ trợ kỹ thuật, hỗ trợ tài liệu, hỗ trợ sản phẩm, hỗ trợ phần mềm, hỗ trợ dự án.
What Kind Of Structural Adhesive Has The Ability To Resist Earthquake?

A seismologist once said: "It is not the earthquake that kills, but the building."
After all, an earthquake is a natural disaster and cannot be avoided, but a building is man-made, and its earthquake resistance determines whether it will cause heavy casualties and economic and property losses when an earthquake strikes. So what does the seismic capacity of a building depend on? Here we have to mention an important indicator - impact peeling resistance.
After the 2008 Wenchuan earthquake, the industry put forward higher requirements for the performance indicators of structural adhesives for building reinforcement, which was mentioned in the "Code for Acceptance of Construction Quality of Building Structure Reinforcement Engineering" GB50550-2010. In areas where the seismic fortification intensity is 7 degrees and above, the steel-bonded adhesives used for building reinforcement and the structural adhesives pasted with fiber composite materials should be retested by witnessing samples for impact-stripping resistance.

This mandatory indicator is the main indicator for comprehensive, scientific and accurate detection of the quality of structural adhesives and identification of the quality of structural adhesives. Not only the adhesive is required to have high strength and good adhesion, but also the structural adhesive is required to have a certain toughness and good resistance to moisture and heat aging. For structural adhesive enterprises, this indicator not only has high requirements on the selection of raw materials, but also has equally high requirements on the production process and quality control of structural adhesives.
Today, it is internationally recognized that the most suitable adhesive for strengthening concrete structures is modified epoxy resin adhesive, especially for bonding fiber composites and steel. No matter in terms of peeling resistance, environmental resistance, long-term stress resistance, impact resistance and fatigue resistance, it is unmatched by other types of adhesives. However, in order to change the impact peeling resistance of structural adhesives, many unscrupulous manufacturers add too much filler, which reduces the bonding ability of structural adhesives, resulting in a decline in impact peeling resistance. The main component of Horse's structural adhesive is epoxy resin, and the less filler not only ensures the impact peeling resistance, but also ensures the improvement of the bonding ability.

Due to the intensified price competition, many manufacturers have replaced the curing agent components with better anti-aging properties in the original adhesive formulations. Although this type of curing agent may not affect the short-term bond strength of the adhesive, or even improve it, it cannot prevent the sharp decline in the environmental aging resistance and impact peeling resistance of the adhesive. Therefore, for the reinforcement of buildings in earthquake areas, the toughness requirements and inspections of the structural adhesives used should be subject to conformity assessment.

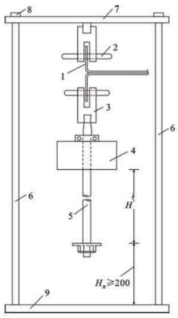
At present, the detection of structural adhesive toughness is mainly realized by using a free-fall impact peeling test device, which is a T-shaped impact peeling sample by gluing a pair of mild steel sheets. Under the specified conditions, an impact force is applied to the lower end of the sample to cause the sample to peel off along its glue line. Structural adhesives with different toughness have obvious differences in their peeling lengths, from which the strengths and weaknesses of their toughness can be judged.

Schematic diagram of impact peel test device
By measuring the peeling length of the samples and comparing and analyzing the test data of different types of adhesives, a simple and practical structural adhesive toughness qualification evaluation standard can be formulated with the peeling length as the index.
Bạn có thể tìm thấy mọi thứ bạn cần ở đây. Hãy tin tưởng và thử nghiệm các sản phẩm này, bạn sẽ thấy sự khác biệt lớn sau đó.
Keo dán sợi carbon tẩm tốt để ứng dụng polyme gia cường sợi carbon (CFRP) để gia cố kết cấu
Keo liên kết tấm thép kết cấu HM-120 là sản phẩm epoxy hai thành phần, có độ bám dính mạnh, đóng rắn ở nhiệt độ phòng. Có đặc tính chống lão hóa, chống va đập tuyệt vời trong khả năng tự bám dính và bám dính lẫn nhau của thép và bê tông, với tốc độ cắt cao
Keo phủ thép HM-120M là keo epoxy cải tiến loại mới, chuyên dùng để hỗ trợ cốt thép liên kết bằng keo. Có thể liên kết với nhiều loại vật liệu nền và kim loại, với các ưu điểm như cường độ liên kết cao, độ bền và độ bền cắt tuyệt vời, khả năng chống axit-k