Giải pháp
Horse Construction cung cấp đầy đủ các loại vật liệu gia cố kết cấu với hỗ trợ kỹ thuật, hỗ trợ tài liệu, hỗ trợ sản phẩm, hỗ trợ phần mềm, hỗ trợ dự án.
Renovation of Concrete Structure by Bonding Steel Anchoring Method
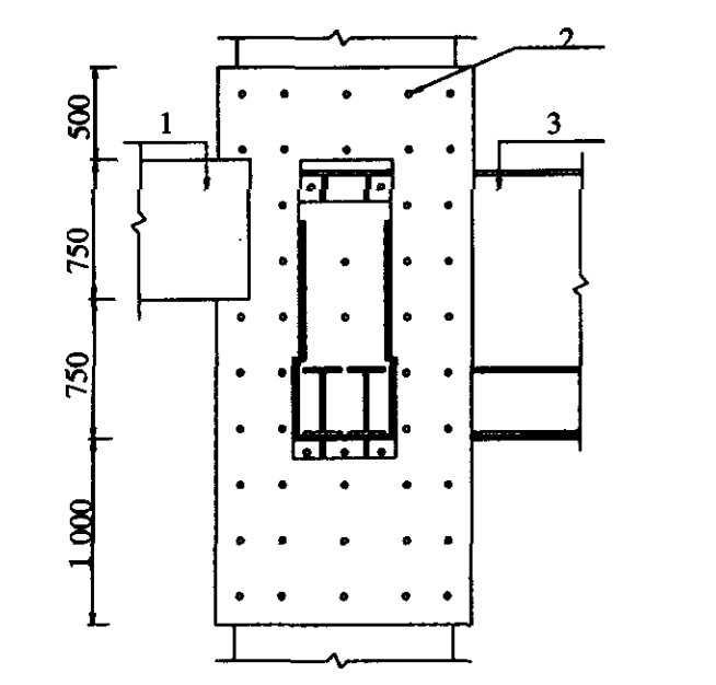
A complex building, with 1 floor underground and 10 floors above ground, is a cast-in-place reinforced concrete frame structure. As shown in Figure 1, an area of about 730m is reserved at the original design +10.00m elevation (that is, on the 3rd floor). Holes where escalators are to be installed. It is now used for other purposes, and it is necessary to add a rigid concrete beam KL, and fill up the well-shaped holes in the figure with reinforced concrete beams.


Schematic diagram of nodes reinforced with bonded steel
The plan for anchoring and bonding steel plates on the zl-z4 columns is as follows: 3000mm (500mm above +9.97m above and 2500mm below) along the column height direction are wrapped with 20mm thick Q235 steel plates. Arrange the four directions of the frame beam, and set four 32 pairs of bolts. The rest of the parts are fixed on the column with 16 explosive bolts @ 300 plum-shaped arrangement, and structural glue is poured into the gap between the steel plate and the column. The steel plate and the column are anchored into a whole to form a steel corbel support to bear the force transmitted by the frame beam.
construction technology
1) Polish the surface of the concrete column flat, and brush the bristles with a wire brush. Steel plate preparation and forming.
2) Determine the position of the steel bars of the reinforced concrete column with the steel bar detector, draw the longitudinal and abscissa coordinates on the steel plate and the concrete column, and mark the lone position of all the bolts.
3) Drilling construction. During drilling construction, it is required to be straight and accurate, and the hole diameter is 2mm larger than that of the bolt.
4) Remove rust from the bent steel plate and clean the inner surface with xylene. It is attached to the column according to the design requirements and fixed with the opposite bolts. The gap between the steel plate and the concrete column should be controlled at about 20mm.
5) Bury the explosive bolts into the concrete cylinder according to the design depth requirements, add gaskets and elastic washers, fasten the bolts, and weld all the nuts firmly.
6) Butt-weld the 3 curved steel plates fixed on the concrete column, and weld the angle steel according to the design requirements to form the steel corbel support. The I-beam and rebar are welded to form the longitudinal stress reinforcement of the newly stiffened concrete beam. Considering the whole cladding project site bending steel plate butt vertical welding, flat welding seam up to 70m, the welding seam width is 25 ~ 35nlm, the height is 25mm.
7) Blow out the floating dust between the steel plate and the concrete column with compressed air, and rinse with high pressure water. After seeing the clear water flowing out from the bottom, seal the upper and lower openings of the steel plate with epoxy cement, leaving a vent hole at the upper opening, and embedding a glue nozzle in each of the three directions in the middle of the steel plate.
8) After the glue nozzle is firmly welded, test the pressure by ventilation. When the pressure reaches 0.2~0.4MPa, press the epoxy glue into the glue nozzle. When glue appears in the vent holes, seal the vent holes with epoxy cement. Use a lower pressure to maintain the glue for more than 10min and then stop the glue. According to the curing conditions of the epoxy glue, after 1 day of filling the glue, blow heat to the steel plate with a hot air blower, and use a temperature controller to control the temperature to ensure that the surface temperature of the steel plate is about 60 °C, and the heating treatment time is 6 hours. After the glue is poured, it is strictly forbidden to hammer, move and weld the steel plate and its connecting parts, so as to avoid adverse effects on the curing and pasting of the epoxy glue. After pouring glue for 3d, tap the steel plate lightly with a small hammer. Judging from the sound, the bonding area is greater than 90%.
9) The operation points of the steel cladding and pressure gluing construction of concrete cylinders and concrete beams with a diameter of 1000 mill are the same as the above steps.
Testing and testing
1) Perform non-destructive testing on the vertical flat welding of the cylindrical clad steel plate with a diameter of 1200mm, as well as all other weldments and the welds of the I-beam in the newly added frame. The welds of steel-clad welding parts of other columns and beams are tested, and the test result is that the welds reach B grade.
2) After the concrete pouring of the entire renovation project is completed and reaches 100% strength, a frame beam is selected by the designer, and the load test is carried out on the structure by the stacking method. The results show that the deflection of the beam and the deformation of the supports at both ends meet the design requirements.
This time, the concrete column is clad with steel to form the corbel, the maximum span of the supported frame beam is 15600mm, and the load-bearing area of the frame beam is more than 180 square meters, which is the largest bearing capacity among the reinforced steel corbels in Wuhan.
Bạn có thể tìm thấy mọi thứ bạn cần ở đây. Hãy tin tưởng và thử nghiệm các sản phẩm này, bạn sẽ thấy sự khác biệt lớn sau đó.
Keo liên kết tấm thép kết cấu HM-120 là sản phẩm epoxy hai thành phần, có độ bám dính mạnh, đóng rắn ở nhiệt độ phòng. Có đặc tính chống lão hóa, chống va đập tuyệt vời trong khả năng tự bám dính và bám dính lẫn nhau của thép và bê tông, với tốc độ cắt cao
Keo phủ thép HM-120M là keo epoxy cải tiến loại mới, chuyên dùng để hỗ trợ cốt thép liên kết bằng keo. Có thể liên kết với nhiều loại vật liệu nền và kim loại, với các ưu điểm như cường độ liên kết cao, độ bền và độ bền cắt tuyệt vời, khả năng chống axit-k