Giải pháp
Horse Construction cung cấp đầy đủ các loại vật liệu gia cố kết cấu với hỗ trợ kỹ thuật, hỗ trợ tài liệu, hỗ trợ sản phẩm, hỗ trợ phần mềm, hỗ trợ dự án.
It is very effective to reinforce the cracked brick walls with CFRP sheets. The ultimate load of cracked wall strengthened with CFRP is significantly higher than that of unreinforced wall.
The technology of Strengthening Masonry Structure with CFRP has the advantages of high strength, high efficiency, convenient construction, good durability, no increase of weight and volume, wide application and so on. It has a broad application prospect in China. In this paper, the related research on the reinforcement and repair of the cracked brick masonry structure with CFRP is carried out. The test proves that the method can easily and effectively solve the problems of building wall cracks in the buildings that have plagued the society at present.
Test situation
Design and manufacture of 11 specimen
The height width ratio of the specimen is 1: 114, the wall thickness is 240mm, width 1400mm, and height 1000mm. When the specimen is made, the wall is made of MU10 brick and M10 cement mortar, and the upper and lower beams are C30 concrete. The vertical compressive stress is 0 2MPa = 11, and the specimen size is shown in Figure 1.

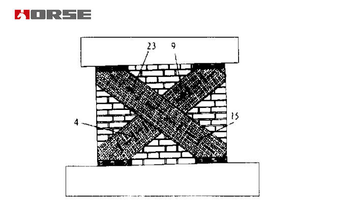
Reinforcement scheme for test parts
he specimen Wall 22 was cracked. First, the positive load is applied to the wall. When the loading to the cracking load (212kN), the brick wall suddenly cracks (the corresponding cracking displacement is 21 0mm) and forms a slanting crack quickly. As shown in Figure 2, the crack is about 01 25mm at the width of the crack. At this point, some cracks are closed and the width of the crack is about 011. Mm.
Strengthening by carbon fiber reinfroced polymer(CFRP). Double side sticking carbon fiber fabric , the width is 300mm, "X" shape, both upper and lower ends are anchored.

Test result
| Wall | f1(Mpa) | f2(Mpa) | Loading direction | Cracking load | Ultimate load | Dehiscence displacemen | Maximum tensile stress of CFRP | ||||
| Experimental value | Increase the degree value | Experimental value | Increase the degree value | Experimental value | Increase the degree value | ||||||
| Wall 21 | 11164 | 16189 | Average | 224 | - | 224 | - | 3107 | - | ||
| Wall 22 | 11164 | 16189 | Positive | - | - | 276 | 2312 | 810 | 16016 | 4323 | 1519 |
| Negative | 368 | 6413 | 368 | 6413 | 1114 | 27113 | 3392 | 545 | |||
Conclusion
In this paper, it is proved that carbon fiber sheet is very effective in strengthening and repairing cracked brick walls. The ultimate load of the cracked wall reinforced by CFRP is obviously higher than that of the unreinforced wall, and the deformation ability of the reinforced wall is obviously improved, and the cracking displacement of the reinforced wall is significantly increased.
The carbon fiber cloth can improve the stress state of the wall through the pull rod mechanism in the truss model, so as to improve the shear capacity of the component.
Bạn có thể tìm thấy mọi thứ bạn cần ở đây. Hãy tin tưởng và thử nghiệm các sản phẩm này, bạn sẽ thấy sự khác biệt lớn sau đó.
Lớp bọc sợi carbon đơn hướng, cường độ cao được bão hòa trước để tạo thành lớp bọc polyme gia cường sợi carbon (CFRP) dùng để gia cố các cấu kiện bê tông kết cấu.
Lớp sơn lót sợi carbon có độ nhớt thấp, khả năng thẩm thấu mạnh cho bề mặt bê tông cốt thép để tăng cường phần khuyết tật
Keo dán sợi carbon tẩm tốt để ứng dụng polyme gia cường sợi carbon (CFRP) để gia cố kết cấu