Giải pháp
Horse Construction cung cấp đầy đủ các loại vật liệu gia cố kết cấu với hỗ trợ kỹ thuật, hỗ trợ tài liệu, hỗ trợ sản phẩm, hỗ trợ phần mềm, hỗ trợ dự án.
On the basis of introducing the peeling failure analysis theory of carbon fiber wrap reinforced concrete flexural members, the peeling failure modes of CFRP(carbon fiber wrap) reinforced masonry structures are discussed.

1 Failure mode
Peeling failure is a dangerous brittle failure mode caused by the failure of the bond between CFRP and concrete. When CFRP is used to reinforce highway tunnels, the principal stress in some parts of the tunnel will exceed the tensile (shear) strength of concrete and peel failure will occur before the section bearing capacity is exhausted. According to the experimental data of CFRP reinforced bending members, it can be predicted that the interfacial shear stress distribution of CFRP end in a certain length range is not uniform, and the maximum value of CFRP end decreases with the increase of distance from CFRP end. The bending and shearing inclined cracks will appear earlier at the end of carbon fiber, so that the stripping will begin from the end, and ultimately lead to the failure of bending reinforcement. In the middle section, the vertical cracks in the tensile zone of the lining lead to the interfacial shear stress between the carbon fiber and the concrete at the crack base, which results in the stripping of the carbon fiber sheet. Peeling occurs at the end of carbon fibers and the base of vertical cracks in the middle of the span. According to the location of peeling failure, the failure modes can be roughly divided into two categories:
(1) the form of bond failure of carbon fiber sheet.
(2) the form of bond failure in the middle part of carbon fiber sheet.
2 Stripping stress analysis
2.1 stress state
2.1.1 bonding stress
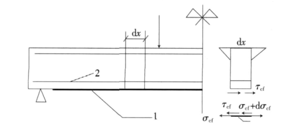
When the carbon fiber sheet is bonded to the concrete surface reliably according to the construction regulations, the anchorage and bond between the carbon fiber sheet and the concrete are very similar to that between the steel bar and the concrete. The bond stress between CFRP and concrete varies along the length direction of the beam, which is mainly related to load effect, bond anchorage area, material properties and other factors. Before the concrete cracks, the concrete and the carbon fiber sheet work together. According to the equilibrium condition of a piece of carbon fiber sheet , the bond stress tcf

The local form of bond stress changes after cracks occur in concrete, and a small separation occurs suddenly at a point on the bond interface between carbon fiber and concrete. The concrete crack no longer bears tensile force, but the tensile force of carbon fiber increases suddenly. With the increase of the distance along the crack to both sides, the load of concrete under the action of bond stress gradually accumulates and increases. However, the load of CFRP gradually decreases to the level of both before the cracking of concrete, and the accumulation of bond stress in a certain length makes the tensile stress of concrete reach the tensile strength, and new cracks occur. The crack width of eccentric compression members strengthened by CFRP is smaller than that of ordinary concrete members due to the deformation of concrete confined by CFRP vertically and horizontally. The local bond stress distribution is shown in Figure 2. Peeling occurs when the peak or average bond stress exceeds the bond strength or tensile (shear) strength between CFRP and concrete.

2.1.2 peeling stress
After concrete cracks occur, the concrete on both sides of the crack will produce rotation and relative vertical displacement under the influence of lining deformation, uneven shrinkage and other factors. In order to maintain its continuity, the carbon fiber sheet must bear the stress_perpendicular to the plane of the carbon fiber sheet on both sides of the crack. The stress_is locally balanced when the carbon fiber sheet and the concrete are not stripped along the longitudinal direction of the carbon fiber sheet. See Figure 3. The stress of the stripping effect can be called the peeling stress between the carbon fiber sheet and the concrete. The exfoliation stress has a very important influence on the exfoliation of CFRP. The value of exfoliation stress is related to many factors. The exfoliation stress at the end of CFRP, the unfavorable load and the main crack should be considered.
2.1.3 shear stress
The shear stress and peel stress are two different stresses on the carbon fiber cloth. Shear stress is produced by external load, while peeling stress is caused by relative dislocation caused by cracks, but it plays the same role in peeling. Peeling occurs when the shear stress and peeling stress at the crack are superimposed beyond the bond strength between CFRP and concrete or the actual tensile strength of concrete.
3. Factors affecting peeling failure
(1) the strength of concrete. The strength of concrete is the most important factor affecting the peeling failure. The lower the strength of concrete is, the easier it is to peel off. Even if the strength of concrete is higher, the shallow part of its surface can not reach the test strength because of the formwork effect when pouring, thus causing many components peel off. For the existing lining concrete members, due to carbonization, aging, steel corrosion and other reasons, the surface of the shallow part of the concrete has longitudinal and transverse cracks, low strength, more prone to peeling.
(2) the length of anchorage and the way of anchorage. The shorter the anchorage length is, the greater the local bond stress is, and the easier the peeling failure occurs. When the anchorage length exceeds a certain length, the bond stress basically does not increase. Therefore, there is a minimum anchoring length for carbon fiber bonded concrete.
(3) the properties of reinforcement materials. The resin adhesive has high rigidity and good flexibility of carbon fiber sheet, which can effectively reduce the peeling stress and thus reduce the possibility of peeling failure. The greater the amount of reinforcement, the greater the thickness and stiffness of CFRP will lead to the increase of peeling stress and peeling.
(4) construction quality. During construction, flat carbon fiber sheets are bonded to ensure uniform transverse force of carbon fiber sheets and reduce the peeling damage caused by local separation. The resin glue between carbon fiber sheets and concrete and between carbon fiber sheets and carbon fiber sheets is full and uniform, which is beneficial to avoid the occurrence and development of peeling damage.
(5) the history of loading. The different state of primary stress before reinforcement has different influence on the occurrence and development of peeling. When other conditions are the same, the possibility of peeling failure is comparable to that of strengthening without primary stress at the beginning of the development of cracks or cracks. However, with the development of cracks, if necessary preventive measures are not taken, the possibility of peeling failure increases.

4 Engineering prevention and control measures
(1) additional anchored layering. It is a simple and effective measure to add anchorage to the ends of CFRP sheets. The additional compression strip exerts pressure on the transverse direction of the carbon fiber sheet, resists the peeling stress and shear stress, and reduces the effect of the principal tensile stress of the local concrete unit on the longitudinal carbon fiber sheet.
(2) increase anchorage length. The bond stress is related to the anchorage length. The anchorage length is short and the local bonding stress is large, so it is easy to peel off. Therefore, the anchorage length of the carbon fiber reinforced with ring reinforcement should be as long as possible.
(3) strictly control the quality of construction. To ensure that the bonding surface of carbon fiber sheet is smooth, the binder is full and uniform, so that the carbon fiber sheet subjected to longitudinal tensile stress transverse as far as possible not uneven phenomenon of force, which is conducive to ensure the overall bonding effect of carbon fiber sheet and concrete lining, inhibit the occurrence and development of peeling.
(4)) the number of layers for sticking carbon fiber sheets should not be excessive. On the premise of sufficient reinforcement, reducing the number of layers of CFRP can reduce the overall stiffness of the reinforcement material and reduce the peeling stress. In general, the number of layers of carbon fiber sheets bonded to the same part of the lining structure should not exceed three layers, so as to avoid increasing the difficulty of immersing the bonding material into carbon fiber sheets and reducing the bonding effect between carbon fiber sheets.
(5) strict selection. The performance of bonding materials directly affects the bonding effect and stripping development between CFRP and concrete. The construction performance of different kinds of CFRP is different. Therefore, the CFRP and bonding materials used in engineering must pass reliable inspection and quality assurance.
(6) the surface treatment of components should be strict. Surface treatment of members is also a key problem for the reinforcement of structures with external bonding materials. If the surface treatment fails to meet the requirements, the bonding interface will be weak, the bonding strength will be reduced, resulting in reinforcement failure.
Bạn có thể tìm thấy mọi thứ bạn cần ở đây. Hãy tin tưởng và thử nghiệm các sản phẩm này, bạn sẽ thấy sự khác biệt lớn sau đó.
Lớp bọc sợi carbon đơn hướng, cường độ cao được bão hòa trước để tạo thành lớp bọc polyme gia cường sợi carbon (CFRP) dùng để gia cố các cấu kiện bê tông kết cấu.
Keo dán sợi carbon tẩm tốt để ứng dụng polyme gia cường sợi carbon (CFRP) để gia cố kết cấu
Dải / tấm polyme gia cường sợi carbon (CFRP) cường độ cao để gia cố kết cấu và sửa chữa bê tông